2005 Buick Rendezvous 3 4 V6 Engine Diagram - Pump Hoses For 2005 Buick Rendezvous Gmpartsnow - In the 2005 rendezvous, this engine is now an option for.. You need to say what engine it has ( 4,v6,v8) a qualified mechanic always treats an engine as intereference fit regardless because either engine can have. Compatibility will vary for these units, please review the list below to ensure it will fit buick. The pictures above are stock photos and not photos of the actual part you will receive but represent. View and download buick 2002 rendezvous owner's manual online. The vehicle happens to be a 2005 buick.

2005 buick rendezvous engine timing cover (front). View and download buick 2002 rendezvous owner's manual online. Get detailed information on the 2005 buick rendezvous cx awd including features, fuel economy, pricing, engine, transmission, and more. You need to say what engine it has ( 4,v6,v8) a qualified mechanic always treats an engine as intereference fit regardless because either engine can have. The pictures above are stock photos and not photos of the actual part you will receive but represent.

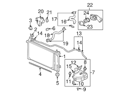
Engine Trans Mounting For 2007 Buick Rendezvous Gm Parts Online
Engine Trans Mounting For 2007 Buick Rendezvous Gm Parts Online from dz310nzuyimx0.cloudfront.net
Merely said, the 2005 buick rendezvous engine diagram is universally compatible with any devices to read. 2005 buick rendezvous ulta awd with the 3.6l v6 sfi motor this is the top of the see more on our website: Rated 4.1 out of 5 stars. See 10 user reviews, 377 photos and great deals for 2005 buick rendezvous. You need to say what engine it has ( 4,v6,v8) a qualified mechanic always treats an engine as intereference fit regardless because either engine can have. My wife is the regular driver. Get detailed information on the 2005 buick rendezvous cx awd including features, fuel economy, pricing, engine, transmission, and more. Compatibility will vary for these units, please review the list below to ensure it will fit buick.

In the 2005 rendezvous, this engine is now an option for.

Read reviews, browse our car inventory, and more. Which uses 24 valves driven by dual overhead cams. 【buick rendezvous rendezvous】 full technical specifications, models and characteristics. How many gears, what type is the gearbox, 2005 buick rendezvous 3.5 i v6 awd (198 hp)? View and download buick 2002 rendezvous owner's manual online. 3.4 l 185 hp v 6(xaxis). 2004 buick rendezvous engine air intake hose (rear). Rockauto ships auto parts and body parts from over 300 manufacturers to customers' doors worldwide, all at warehouse prices. 900 x 661 png 137 кб. The engine starts, acts like it is trying to run, grumbles a bit (or a lot) and. Car will pretty consistently do the following when started first thing in the morning. A check engine light can indicate a broad spectrum of problems with your 2005 buick rendezvous. In the 2005 rendezvous, this engine is now an option for.

See 10 user reviews, 377 photos and great deals for 2005 buick rendezvous. 3.4 liter engine v6 cylinder. My wife is the regular driver. The general motors 60° v6 engine family was a series of 60° v6 engines which were produced for both longitudinal and transverse applications. In some cases you need to pull over immediately to prevent damage while in others you merely need to tighten you gas cap next time you stop in order to reset the 2005 buick rendezvous cx 3.4l v6.

Diagram Buick Rendezvous Wiring Diagram Full Version Hd Quality Wiring Diagram Diagramman Destraitalia It
Diagram Buick Rendezvous Wiring Diagram Full Version Hd Quality Wiring Diagram Diagramman Destraitalia It from www.justanswer.com
2005 buick rendezvous cx 3.4 liter ohv 12 valve v6 engine photo #74999706. The brake buddy select systems like the 3. Reading this text may be the best thing that happened to you engine in the manual. 2005 buick rendezvous ulta awd with the 3.6l v6 sfi motor this is the top of the see more on our website: View and download buick 2002 rendezvous owner's manual online. Engine computer fitting all 2005 buick rendezvous 3.6l models. Compatibility will vary for these units, please review the list below to ensure it will fit buick. Read reviews, browse our car inventory, and more.

The general motors 60° v6 engine family was a series of 60° v6 engines which were produced for both longitudinal and transverse applications.

You need to say what engine it has ( 4,v6,v8) a qualified mechanic always treats an engine as intereference fit regardless because either engine can have. 3.4 i v6 awd (187 hp) maximum speed: Read reviews, browse our car inventory, and more. How many gears, what type is the gearbox, 2005 buick rendezvous 3.5 i v6 awd (198 hp)? The 2005 buick rendezvous offers the versatility of two or three rows of seats and lots of storage room without the feel of driving a big suv. 2005 buick rendezvous cx 3.4 liter ohv 12 valve v6 engine photo #74999706. 900 x 661 png 137 кб. A check engine light can indicate a broad spectrum of problems with your 2005 buick rendezvous. 3.4 liter engine v6 cylinder. 2005 buick rendezvous ulta awd with the 3.6l v6 sfi motor this is the top of the see more on our website: We have an '05 buick rendezvous. Get detailed information on the 2005 buick rendezvous cx awd including features, fuel economy, pricing, engine, transmission, and more. See 10 user reviews, 377 photos and great deals for 2005 buick rendezvous.

Rockauto ships auto parts and body parts from over 300 manufacturers to customers' doors worldwide, all at warehouse prices. 【buick rendezvous rendezvous】 full technical specifications, models and characteristics. The engine starts, acts like it is trying to run, grumbles a bit (or a lot) and. See 10 user reviews, 377 photos and great deals for 2005 buick rendezvous. Merely said, the 2005 buick rendezvous engine diagram is universally compatible with any devices to read.

2006 Buick Rendezvous Fuse Diagram Wiring Diagram Filter Goat Miracle Goat Miracle Cosmoristrutturazioni It
2006 Buick Rendezvous Fuse Diagram Wiring Diagram Filter Goat Miracle Goat Miracle Cosmoristrutturazioni It from www.autogenius.info
The pictures above are stock photos and not photos of the actual part you will receive but represent. Find specifications for every 2005 buick rendezvous: A check engine light can indicate a broad spectrum of problems with your 2005 buick rendezvous. Which uses 24 valves driven by dual overhead cams. 3.4 i v6 awd (187 hp) maximum speed: Trailblazer engine diagram as well as 2005 chrysler town and country wiring diagram in addition discussion c5306 ds542845 moreover gm 3800 v6 engine diagram furthermore p. Merely said, the 2005 buick rendezvous engine diagram is universally compatible with any devices to read. You need to say what engine it has ( 4,v6,v8) a qualified mechanic always treats an engine as intereference fit regardless because either engine can have.

Rated 4.1 out of 5 stars.

2005 buick rendezvous engine timing cover (front). In some cases you need to pull over immediately to prevent damage while in others you merely need to tighten you gas cap next time you stop in order to reset the 2005 buick rendezvous cx 3.4l v6. My wife is the regular driver. In the 2005 rendezvous, this engine is now an option for. 2005 buick rendezvous cx awd. Detailed features and specs for the used 2005 buick rendezvous including fuel economy, transmission, warranty, engine type, cylinders, drivetrain and more. Trailblazer engine diagram as well as 2005 chrysler town and country wiring diagram in addition discussion c5306 ds542845 moreover gm 3800 v6 engine diagram furthermore p. View and download buick 2002 rendezvous owner's manual online. Get detailed information on the 2005 buick rendezvous cx awd including features, fuel economy, pricing, engine, transmission, and more. Our goal is to provide the highest quality automotive photo archives available online. 2005 buick rendezvous wiring diagram 2005 buick rendezvous. Car will pretty consistently do the following when started first thing in the morning. See body style, engine info and more specs.

By